Katayama's Page
A thing needed is full.
If it gives, I will search here!
DRAWING,CAD etc LINK PROFILE


  SEARCH

  ADVERTISE

 NOTICE
★推奨閲覧環境★
Internet Explorer5.5〜Windowsです。
CSSを使用しています。
Netscape・Macでは表示されない部分があるかもしれません。
できれば最新版Internet Explorerの閲覧をおすすめします。

★LINK FREE!★
■site name
Katayama's Page
■url
https://cad.pya.jp/
■web master
Katayama
■banner

その他のサイズ
■お気に入りに追加





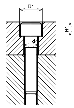
六角穴付きボルトに対するざぐり及びボルト穴の寸法



ねじの呼び(d1) M3 M4 M5 M6 M8 M10 M12 M14 M16 M18 M20 M22 M24 M27 M30 M33 M36 M39 M42 M45 M48 M52
d' 3.4 4.5 5.5 6.6 9 11 14 16 18 20 22 24 26 30 33 36 39 42 45 48 52 56
D' 6.5 8 9.5 11 14 17.5 20 23 26 29 32 35 39 43 48 54 58 62 67 72 76 82
H'' 3.3 4.4 5.4 6.5 8.6 10.8 13 15.2 17.5 19.5 21.5 23.5 25.5 29 32 35 38 41 44 47 50 54



このページのトップへもどる

 
 このサイトに掲載されている記事・写真・図表などの無断転載を禁じます。
Copyright © 2003 Katayama's Page all rights reserved. Designed by TG